单选题 (共 17 题 ),每题只有一个选项正确
在距河面高度 $h=20 \mathrm{~m}$ 的岸上有人用长绳拴住一条小船,开始时绳与水面的夹角为 $30^{\circ}$ 。人以恒定的速率 $v=3 \mathrm{~m} / \mathrm{s}$ 拉绳,使小船靠岸,那么( )
$\text{A.}$ 5 s 时绳与水面的夹角为 $60^{\circ}$
$\text{B.}$ 5 s 后小船前进了 15 m
$\text{C.}$ 5 s 时小船的速率为 $4 \mathrm{~m} / \mathrm{s}$
$\text{D.}$ 5 s 时小船到岸边的距离为 15 m
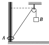
如图所示,物体 $A 、 B$ 经无摩擦的定滑轮用细线连在一起,$A$ 物体受水平向右的力 $F$ 的作用,此时 $B$ 匀速下降,$A$ 水平向左运动,可知( )
$\text{A.}$ 物体 $A$ 做匀速运动
$\text{B.}$ 物体 $A$ 做加速运动
$\text{C.}$ 物体 $A$ 所受摩擦力逐渐增大
$\text{D.}$ 物体 $A$ 所受摩擦力不变
如图所示,长为 $L$ 的直棒一端可绕固定轴 $O$ 转动,另一端搁在升降平台上,平台以速度 $v$ 匀速上升,当棒与坚直方向的夹角为 $\alpha$ 时,棒的角速度为( )
$\text{A.}$ $\frac{v \sin \alpha}{L}$
$\text{B.}$ $\frac{v}{L \sin \alpha}$
$\text{C.}$ $\frac{v \cos \alpha}{L}$
$\text{D.}$ $\frac{v}{L \cos \alpha}$
精彩的 F1 赛事相信你不会陌生吧!车王舒马赫在一个弯道上突然调整行驶的赛车致使后轮脱落,从而不得不遗憾地退出了比赛.关于脱落的后轮的运动情况,以下说法中正确的是(
$\text{A.}$ 仍然沿着汽车行驶的弯道运动
$\text{B.}$ 沿着与弯道垂直的方向飞出
$\text{C.}$ 脱落时,沿着轮子前进的方向做直线运动,离开弯道
$\text{D.}$ 上述情况都有可能
某电视台举办了一期群众娱乐节目,其中有一个环节是让群众演员站在一个旋转较快的大平台边缘上,向大平台圆心处的球筐内投篮球.如果群众演员相对平台静止,则下面各俯视图中哪幅图中的篮球可能被投入球筐(图中平台内箭头指向表示投篮方向)
$\text{A.}$
$\text{B.}$
$\text{C.}$
$\text{D.}$
跳伞表演是人们普遍喜欢的观赏性体育项目,如图所示,当运动员从直升机上由静止跳下后,在下落过程中将会受到水平风力的影响,下列说法中正确的是
$\text{A.}$ 风力越大,运动员下落时间越长,运动员可完成更多的动作
$\text{B.}$ 风力越大,运动员着地时的坚直速度越大,有可能对运动员造成伤害
$\text{C.}$ 运动员下落时间与风力无关
$\text{D.}$ 运动员着地速度与风力无关
如图所示,人沿平直的河岸以速度 $v$ 行走,且通过不可伸长的绳拖船,船沿绳的方向行进,此过程中绳始终与水面平行.当绳与河岸的夹角为 $\alpha$ 时,船的速率为
$\text{A.}$ $v \sin \alpha$
$\text{B.}$ $\frac{v}{\sin \alpha}$
$\text{C.}$ $v \cos \alpha$
$\text{D.}$ $\frac{v}{\cos \alpha}$
如图所示,套在坚直细杆上的环 $A$ 由跨过定滑轮的不可伸长的轻绳与重物 $B$ 相连。由于 $B$ 的质量较大,故在释放 $B$ 后,$A$ 将沿杆上升,当 $A$ 环上升至与定滑轮的连线水平时,其上升速度 $v_1 \neq 0$ ,若这时 $B$ 的速度为 $v_2$ ,则
$\text{A.}$ $v_2=0$
$\text{B.}$ $v_2>v_1$
$\text{C.}$ $v_2 \neq 0$
$\text{D.}$ $v_2=v_1$
一快艇要从岸边某一不确定位置处到达河中离岸边 100 m 远的一浮标处,已知快艇始终与河岸垂直,其在静水中的速度 $v_x$ 图象和流水的速度 $v_y$ 图象分别如图甲、乙所示,则
$\text{A.}$ 快艇的运动轨迹为直线
$\text{B.}$ 快艇的运动轨迹为曲线
$\text{C.}$ 能找到某一位置使快艇最快到达浮标处的时间为 20 s
$\text{D.}$ 快艇最快到达浮标处经过的位移为 100 m
如图,船从 $A$ 处开出后沿直线 $A B$ 到达对岸,若 $A B$ 与河岸成 $37^{\circ}$ 角,水流速度为 4 $\mathrm{m} / \mathrm{s}$ ,则船从 $A$ 点开出相对水流的最小速度为( )
$\text{A.}$ $2 \mathrm{~m} / \mathrm{s}$
$\text{B.}$ $2.4 \mathrm{~m} / \mathrm{s}$
$\text{C.}$ $3 \mathrm{~m} / \mathrm{s}$
$\text{D.}$ $3.5 \mathrm{~m} / \mathrm{s}$
在一个光滑水平面内建立平面直角坐标系 $x O y$ ,质量为 1 kg 的物体原来静止在坐标原点 $O(0,0), t=0$ 时受到如图所示随时间变化的外力作用,图甲中 $F_x$ 表示沿 $x$ 轴方向的外力,图乙中 $F_y$ 表示沿 $y$ 轴方向的外力,下列描述正确的是

$\text{A.}$ $0 \sim 4 \mathrm{~s}$ 内物体的运动轨迹是一条直线
$\text{B.}$ $0 \sim 4 \mathrm{~s}$ 内物体的运动轨迹是一条抛物线
$\text{C.}$ 前 2 s 内物体做匀加速直线运动,后 2 s 内物体做匀加速曲线运动
$\text{D.}$ 前 2 s 内物体做匀加速直线运动,后 2 s 内物体做匀速圆周运动
如图所示,$A 、 B$ 两物体系在跨过光滑定滑轮的一根轻绳的两端,当 $A$ 物体以速度 $v$ 向左运动时,系 $A 、 B$ 的绳分别与水平方向成 $\alpha 、 \beta$ 角,此时 $B$ 物体的速度大小为()
$\text{A.}$ $v \sin \alpha / \sin \beta$
$\text{B.}$ $v \cos \alpha / \sin \beta$
$\text{C.}$ $v \sin \alpha / \cos \beta$
$\text{D.}$ $v \cos \alpha / \cos \beta$
如图所示,在一次抗洪救灾工作中,一架直升机 $A$ 用一长 $H=50 \mathrm{~m}$ 的悬索(重力可忽略不计)系住伤员 $B$ ,直升机 $A$ 和伤员 $B$ 一起在水平方向上以 $v_0=10 \mathrm{~m} / \mathrm{s}$ 的速度匀速运动的同时,悬索在坚直方向上匀速上拉.在将伤员拉到直升机内的时间内,$A 、 B$之间的坚直距离以 $l=50-5 t$(单位: m )的规律变化,则
$\text{A.}$ 伤员经过 5 s 时间被拉到直升机内
$\text{B.}$ 伤员经过 10 s 时间被拉到直升机内
$\text{C.}$ 伤员的运动速度大小为 $5 \mathrm{~m} / \mathrm{s}$
$\text{D.}$ 伤员的运动速度大小为 $10 \mathrm{~m} / \mathrm{s}$
如图所示,物块 B 套在倾斜杆上,并用轻绳绕过定滑轮与物块 A 相连(定滑轮体积大小可忽略),今使物块 B 沿杆由 $M$ 点匀速下滑到 $N$ 点,运动中连接 A、B 的轻绳始终保持绷紧状态,在下滑过程中,下列说法正确的是
$\text{A.}$ 物块 A 的速率先变大后变小
$\text{B.}$ 物块 A 的速率先变小后变大
$\text{C.}$ 物块 A 始终处于失重状态
$\text{D.}$ 物块 A 先处于失重状态,后处于超重状态
如图所示,长为 $l$ 的轻杆,一端固定一个质量为 $m$ 的小球,另一端有固定转动轴 $O$ ,杆可在坚直面内绕转动轴 $O$ 无摩擦转动;质量为 $m$ 的物块放置在光滑水平面上,开始时,使小球靠在物块的光滑侧面上,轻杆与水平面夹角 $45^{\circ}$ ,用手控制物块静止,然后释放物块,在之后球与物块运动的过程中,下列说法正确的是
$\text{A.}$ 球与物块分离前,杆上的弹力逐渐增大
$\text{B.}$ 球与物块分离前,球与物块的速度相等
$\text{C.}$ 球与物块分离前,物块的速度先增大后减小
$\text{D.}$ 球与物块分离时,球的加速度等于重力加速度
一条河宽 120 m 船在静水中的速度为 $3 \mathrm{~m} / \mathrm{s}$ ,水流速度是 $6 \mathrm{~m} / \mathrm{s}$ ,则
$\text{A.}$ 该船过河最短时间为 20 s
$\text{B.}$ 该船过河最短距离为 120 m
$\text{C.}$ 当船头与岸所成夹角为 $60^{\circ}$ 时,船过河的位移最短
$\text{D.}$ 当该船以最短时间过河时,该船的运动方向与垂直岸方向的夹角为 $60^{\circ}$
如图所示,在水平地面上有一个表面光滑的直角三角形物块 $M$ ,长为 $L$ 的轻杆下端用光滑铰链连接于 $O$ 点( $O$ 点固定于地面上),上端连接小球 $m$ ,小球靠在物块左侧,水平向左的推力 $F$ 施于物块,整个装置静止。若撤去力 $F$ ,下列说法正确的是
$\text{A.}$ 物块先做加速运动,后做减速运动直至静止
$\text{B.}$ 小球与物块分离时,轻杆中有力
$\text{C.}$ 小球与物块分离时,若轻杆与水平地面成 $\alpha$ 角,小球的角速度大小为 $\omega$ ,则物块的速度大小是 $\omega L \sin \alpha$
$\text{D.}$ 小球落地的瞬间与物块分离
多选题 (共 6 题 ),每题有多个选项正确
如图,在河水速度恒定的小河中,一小船保持船头始终垂直河岸从一侧岸边向对岸行驶,船的轨迹是一个弯曲的"S"形,则
$\text{A.}$ 小船垂直河岸的速度大小恒定不变
$\text{B.}$ 小船垂直河岸的速度大小先增大后减小
$\text{C.}$ 与船以出发时的速度匀速过河相比,过河时间长了
$\text{D.}$ 与船以出发时的速度匀速过河相比,过河时间短了
如右图所示,在灭火抢险的过程中,消防队员有时要借助消防车上的梯子爬到高处进行救人或灭火作业.为了节省救援时间,在消防车向前前进的过程中,人同时相对梯子匀速向上运动.在地面上看消防队员的运动,下列说法中正确的是()
$\text{A.}$ 当消防车匀速前进时,消防队员一定做匀加速直线运动
$\text{B.}$ 当消防车匀速前进时,消防队员一定做匀速直线运动
$\text{C.}$ 当消防车匀加速前进时,消防队员一定做匀变速曲线运动
$\text{D.}$ 当消防车匀加速前进时,消防队员一定做匀变速直线运动
如图所示,某同学在研究运动的合成时做了如图所示活动:用左手沿黑板推动直尺坚直向上运动,运动中保持直尺水平,同时用右手沿直尺向右移动笔尖。若该同学左手的运动为匀速运动,右手相对于直尺的运动为初速度为零的匀加速运动,则关于笔尖的实际运动,下列说法中正确的是( )
$\text{A.}$ 笔尖做匀速直线运动
$\text{B.}$ 笔尖做匀变速直线运动
$\text{C.}$ 笔尖做匀变速曲线运动
$\text{D.}$ 笔尖的速度方向与水平方向夹角逐渐变小
如图所示,$A B$ 杆以恒定角速度 $\omega$ 绕 A 点转动,并带动套在光滑水平杆 $O C$ 上的质量为 $M$ 的小环运动,运动开始时,$A B$ 杆在坚直位置,则
$\text{A.}$ 小环 $M$ 的速度将逐渐增大
$\text{B.}$ 小环 $M$ 的速度将先减小后增大
$\text{C.}$ 小环 $M$ 的加速度速度将逐渐增大
$\text{D.}$ 小环 $M$ 的加速度速度将逐渐减小
如图所示,甲、乙两船在同一条河流中同时开始渡河,河宽 $d, M 、 N$ 分别是甲、乙两船的出发点,两船头与河岸均成 $\alpha$ 角,甲船船头恰好对准 $N$ 点的正对岸 $P$ 点,经过一段时间乙船恰好到达 $P$ 点,如果划船速度均为 $v_0$ ,且两船相遇不影响各自的航行。下列判断正确的是
$\text{A.}$ 水流方向向右,大小为 $v_0 \cos \alpha$
$\text{B.}$ 两船同时到达河对岸,花费时间均为 $\frac{d}{v_0 \sin \alpha}$
$\text{C.}$ 甲船水平位移为 $v_0 \cos \alpha \cdot \frac{d}{\sin \alpha}$
$\text{D.}$ 甲乙两船会在 $P N$ 上某点相遇
如图所示,小船从河岸的 $O$ 点沿虚线匀速运动到河对岸的 $P$ 点,河水的流速 $v_{\text {水、船在 }}$静水中的速度 $v_{\text {静 }}$ 与虚线的夹角分别为 $\alpha 、 \theta$ ,河宽为 $L$ ,且 $v_{\text {静、 }} v_{\text {水 }}$ 的大小不变,渡河的时间为 $t$ ,河水的流动方向与河岸平行,则下列说法正确的是
$\text{A.}$ 当 $\alpha+\theta=90^{\circ}$ 时,渡河的时间最短
$\text{B.}$ 渡河时间 $t=\frac{L}{v_{\text {静 }} \cos (\theta+\alpha)}$
$\text{C.}$ 渡河时间 $t=\frac{O P}{v_{\text {静 }} \cos \theta+v_{\text {水 }} \cos \alpha}$
$\text{D.}$ $\frac{v_{\text {静 }}}{v_{\text {水 }}}=\frac{\sin \theta}{\sin \alpha}$