收藏试卷 下载Word 导出试卷 打印试卷 试卷白板

抛体运动单元测试提高版



单选题 (共 10 题 ),每题只有一个选项正确
游乐场内两支玩具枪在同一位置先后沿水平方向各射出一颗子弹,打在远处的同一个靶上,$A$ 为甲枪子弹留下的弹孔,$B$ 为乙枪子弹留下的弹孔,两弹孔在坚直方向上相距高度为 $h$ ,如图所示,不计空气阻力.关于两枪射出子弹的初速度大小,下列判断正确的是( )

$\text{A.}$ 甲枪射出的子弹初速度较大 $\text{B.}$ 乙枪射出的子弹初速度较大 $\text{C.}$ 甲、乙两枪射出的子弹初速度一样大 $\text{D.}$ 无法比较甲、乙两枪射出的子弹初速度的大小

在地面上方某点将一小球以一定的初速度沿水平方向抛出,不计空气阻力,则小球在随后的运动中
$\text{A.}$ 速度和加速度的方向都在不断改变 $\text{B.}$ 速度与加速度方向之间的夹角一直减小 $\text{C.}$ 在相等的时间间隔内,速率的改变量相等 $\text{D.}$ 在相等的时间间隔内,动能的改变量相等

如图所示,某同学将一枚飞镖从高于靶心的位置水平投向坚直悬挂的靶盘,结果飞镖打在靶心的正下方。忽略飞镖运动过程中所受空气阻力,在其他条件不变的情况下,为使飞镖命中靶心,他在下次投掷时可以
$\text{A.}$ 换用质量稍大些的飞镖 $\text{B.}$ 适当增大投飞镖的高度 $\text{C.}$ 到稍远些的地方投飞镖 $\text{D.}$ 适当减小投飞镖的初速度

如图所示,从 $A$ 点由静止释放一弹性小球,一段时间后与固定斜面上 $B$ 点发生碰撞,碰后小球速度大小不变,方向变为水平方向,又经过相同的时间落于地面上 $C$ 点,已知地面上 $D$ 点位于 $B$ 点正下方,$B 、 D$ 间的距离为 $h$ ,则( )

$\text{A.}$ $A 、 B$ 两点间的距离为 $\frac{h}{2}$ $\text{B.}$ $A 、 B$ 两点间的距离为 $\frac{h}{3}$ $\text{C.}$ $C 、 D$ 两点间的距离为 $2 h$ $\text{D.}$ $C 、 D$ 两点间的距离为 $\frac{2 \sqrt{3}}{3} h$

如图所示,位于同一高度的小球 $A 、 B$ 分别以 $v_1$ 和 $v_2$ 的速度水平抛出,都落在了倾角为 $30^{\circ}$ 的斜面上的 $C$ 点,小球 $B$ 恰好垂直打到斜面上,则 $v_1 、 v_2$ 之比为


$\text{A.}$ $1: 1$ $\text{B.}$ $2: 1$ $\text{C.}$ $3: 2$ $\text{D.}$ $2: 3$

如图所示,一个小球从一斜面顶端分别以 $v_{10} 、 v_{20} 、 v_{30}$ 水平抛出,分别落在斜面上 1 、 $2 、 3$ 点,落到斜面时坚直分速度分别是 $v_{1 y} 、 v_{2 y} 、 v_{3 y}$ ,则
$\text{A.}$ $\left\lvert\, \mathrm{A} \cdot \frac{v_{1 y}}{v_{10}}>\frac{v_{2 y}}{v_{20}}>\frac{v_{3 y}}{v_{30}}\right.$ $\text{B.}$ $\frac{v_{1 y}}{v_{10}} < \frac{v_{2 y}}{v_{20}} < \frac{v_{3 y}}{v_{30}}$ $\text{C.}$ $ \frac{v_{1 y}}{v_{10}}=\frac{v_{2 y}}{v_{20}}=\frac{v_{3 y}}{v_{30}}$ $\text{D.}$ 条件不足,无法比较

如图所示的光滑斜面长为 $l$ ,宽为 $b$ ,倾角为 $\theta$ ,一物块(可看成质点)沿斜面左上方顶点 $P$ 水平射入,恰好从底端 $Q$ 点离开斜面,则


$\text{A.}$ $P \rightarrow Q$ 所用的时间 $t=2 \sqrt{\frac{2 l}{g \sin \theta}}$ $\text{B.}$ $P \rightarrow Q$ 所用的时间 $t=\sqrt{\frac{2 l}{g}}$ $\text{C.}$ 初速度 $v_0=b \sqrt{\frac{g \sin \theta}{2 l}}$ $\text{D.}$ 初速度 $v_0=b \sqrt{\frac{g}{2 l}}$

从高 $H=4 \mathrm{~m}$ 处的点 $A$ 先后水平抛出两个小球 1 和 2 ,球 1 与地面碰撞一次后,恰好越过位于水平地面上高为 $h$ 的坚直挡板,然后落在水平地面上的 $D$ 点,碰前碰后的速度水平方向不变,坚直方向等大反向。球 2 恰好越过挡板也落在 $D$ 点,忽略空气阻力。挡板的高度 $h$ 为

$\text{A.}$ 3.5 m $\text{B.}$ 3 m $\text{C.}$ 2.5 m $\text{D.}$ 2 m

如图,两个靠得很近的小球(均可视为质点)从斜面上的同一位置 $O$ 以不同的初速度 $v_A 、 v_B$ 做平抛运动,斜面足够长,在斜面上的落点分别为 $\mathrm{A} 、 B$ ,在空中运动的时间分别为 $t_A t_B$ ,落到斜面前瞬间的速度与斜面的夹角分别为 $\alpha 、 \beta$ ,已知 $O B=2 O A$ 。下列说法正确的是

$\text{A.}$ $v_A: v_B=1: 2$ $\text{B.}$ $t_A: t_B=1: 2$ $\text{C.}$ $B$ 球在空中离斜面最远时,其速度方向与斜面平行 $\text{D.}$ $\alpha < \beta$

"刀削面"是一种广受消费者喜爱的面食,传统的操作手法是一手托面一手拿刀,直接将面削到开水锅里。如图所示,厨师将小面圈沿锅的某条半径方向水平削出,小面圈距锅的高度 $h=0.3 \mathrm{~m}$ ,与锅沿的最近水平距离 $L=0.4 \mathrm{~m}$ ,锅可视为半径 $R=0.25 \mathrm{~m}$ 的半球壳(不计锅的厚度),水面到锅底的距离 $d=0.1 \mathrm{~m}$ 。不计一切阻力,小面圈的运动可视为平抛运动,则

$\text{A.}$ 落入锅中的小面圈速度的变化量均相同 $\text{B.}$ 落入锅中的小面圈,速度范围为 $1.5 \mathrm{~m} / \mathrm{s} < v_0 < \frac{3}{2} \sqrt{6} \mathrm{~m} / \mathrm{s}$ $\text{C.}$ 直接落入水中的小面圈,速度范围为 $1.5 \mathrm{~m} / \mathrm{s} < v_0 < \frac{17}{6} \mathrm{~m} / \mathrm{s}$ $\text{D.}$ 直接落入水中的小面圈,速度范围为 $\frac{2 \sqrt{6}}{3} \mathrm{~m} / \mathrm{s} < v_0 < \frac{17}{6} \mathrm{~m} / \mathrm{s}$

多选题 (共 5 题 ),每题有多个选项正确
如图所示,相同的乒乓球 1、2 恰好在等高处水平越过球网,不计乒乓球的旋转和空气阻力,乒乓球自最高点到落台的过程中,下列说法正确的是()

$\text{A.}$ 过网时球 1 的速度小于球 2 的速度 $\text{B.}$ 球 1 的飞行时间大于球 2 的飞行时间 $\text{C.}$ 球 1 的速度变化率等于球 2 的速度变化率 $\text{D.}$ 落台时,球 1 的重力功率等于球 2 的重力功率

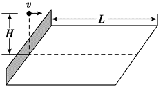
如图所示,在网球的网前截击练习|中,若练习者在球网正上方距地面 $H$ 处,将球以速度 $v$ 沿垂直球网的方向击出,球刚好落在底线上,已知底线到网的距离为 $L$ ,重力加速度取 $g$ ,将球的运动视作平抛运动,下列表述正确的是


$\text{A.}$ 球的速度 $v$ 等于 $L \sqrt{\frac{g}{2 H}}$ $\text{B.}$ 球从击出至落地所用时间为 $\sqrt{\frac{2 H}{g}}$ $\text{C.}$ 球从击球点至落地点的位移等于 $L$ $\text{D.}$ 球从击球点至落地点的位移与球的质量有关

如图所示,$A C$ 是倾角为 $\theta=30^{\circ}$ 的固定斜面,$C D$ 部分为水平面,小球从斜面顶端 $A$ 点以初速度 $v_0$ 水平抛出,刚好落在斜面上的 $B$ 点,$A B=\frac{1}{3} A C$ 。现将小球从斜面顶端 $A$ 点以初速度 $2 v_0$ 水平抛出(不计空气阻力,小球下落后均不弹起,重力加速度为 $g$ ),则小球前后两次在空中运动过程中

$\text{A.}$ 时间之比为 1 :$\sqrt{3}$ $\text{B.}$ 水平位移之比为 1: 3 $\text{C.}$ 当初速度为 $2 v_0$ 时,小球从抛出到离斜面的最远的时间为 $\frac{\sqrt{3} v_0}{g}$ $\text{D.}$ 当初速度为 $v_0$ 时,小球在空中离斜面的最远距离为 $\frac{\sqrt{3} v_0^2}{12 g}$

一苹果在距地面高 6 m 的地方由静止开始自由下落,地面上与苹果在同一坚直平面内且与苹果水平相距 8 m 的地方斜向上射出一飞刀,要使飞刀在空中射中苹果,则飞刀射出时的速度大小可能的是

$\text{A.}$ $5 \mathrm{~m} / \mathrm{s}$ $\text{B.}$ $8 \mathrm{~m} / \mathrm{s}$ $\text{C.}$ $10 \mathrm{~m} / \mathrm{s}$ $\text{D.}$ $12 \mathrm{~m} / \mathrm{s}$

如图所示,一架飞机沿水平方向匀速飞行,刚刚到达山坡底端正上方时,立即释放一颗炸弹,并垂直击中山坡上的目标 $A$ 。已知 $A$ 距山坡底端的高度为 $h$ ,山坡的倾角为 $\theta$ ,重力加速度大小为 $g$ ,不计空气阻力,下列说法正确的是

$\text{A.}$ 炸弹的坚直位移与水平位移的大小之比为 $1: \tan \theta$ $\text{B.}$ 飞机投弹时距山坡底端的高度为 $\left(\frac{1}{2 \tan ^2 \theta}+1\right) h$ $\text{C.}$ 炸弹运动的时间为 $\sqrt{\frac{h}{g}} \frac{1}{\tan \theta}$ $\text{D.}$ 炸弹落到山坡上的瞬时速度大小为 $\sqrt{g h}$

解答题 (共 2 题 ),解答过程应写出必要的文字说明、证明过程或演算步骤
如图所示,一名跳台滑雪运动员经过一段时间的加速滑行后从 $O$ 点水平飞出,经过 3 s落到斜坡上的 $A$ 点.已知 $O$ 点是斜坡的起点,斜坡与水平面的夹角 $\theta=37^{\circ}$ ,运动员的质量 $m=50 \mathrm{~kg}$ .不计空气阻力 $\left(\sin 37^{\circ}=0.6, \cos 37^{\circ}=0.8 ; g\right.$ 取 $\left.10 \mathrm{~m} / \mathrm{s}^2\right)$ .求:
(1)$A$ 点与 $O$ 点的距离 $L$ ;
(2)运动员离开 $O$ 点时的速度大小;
(3)运动员从 $O$ 点飞出开始到离斜坡距离最远所用的时间.

如图所示,倾角为 $37^{\circ}$ 的粗糙斜面的底端有一质量 $m=1 \mathrm{~kg}$ 的凹形小滑块,小滑块与斜面间的动摩擦因数 $\mu=0.25$ .现小滑块以某一初速度 $v$ 从斜面底端上滑,同时在斜面底端正上方有一小球以 $v_0$ 水平抛出,经过 0.4 s ,小球恰好垂直斜面方向落入凹槽,此时,小滑块还在上滑过程中。(已知 $\sin 37^{\circ}=0.6, \cos \left.37^{\circ}=0.8\right), g$ 取 $10 \mathrm{~m} / \mathrm{s}^2$ .求:

(1)小球水平抛出的速度 $v_0$ ;
(2)小滑块的初速度 $v$ 。

非会员每天可以查看15道试题。 开通会员,海量试题无限制查看。

  • 无限看试题

  • 下载试题

  • 组卷
开通会员

热点推荐

试卷二维码

分享此二维码到群,让更多朋友参与

试卷白板

试卷白板提供了一个简单的触摸书写板,可供老师上课、或者视频直播时, 直接利用白板给学生讲解试题,如有意见,欢迎反馈。