收藏试卷 下载Word 导出试卷 打印试卷 试卷白板

物体受力分析综合训练



单选题 (共 11 题 ),每题只有一个选项正确
如图所示,质量均可忽略的轻绳与轻杆承受弹力的最大值一定,杆的 $A$ 端用较链固定,光滑轻小滑轮在 $A$ 点正上方,$B$ 端吊一重物 $G$ ,现将绳的一端拴在杆的 $B$ 端,用拉力 $F$ 将 $B$端缓缦上拉,在 $A B$ 杆达到坚直前(均未断),关于绳子的拉力 $F$ 和杆受的弹力 $F_{\mathrm{N}}$ 的变化,判断正确的是

$\text{A.}$ F变大 $\text{B.}$ F变小 $\text{C.}$ $F_{\mathrm{N}}$ 变大 $\text{D.}$ $F_{\mathrm{N}}$ 变小

如图所示,三根长度均为 $L$ 的轻绳分别连接于 $C 、 D$ 两点,$A 、 B$ 两端被悬挂在水平天花板上,相距 $2 L$ ,现在 $C$ 点上悬挂一个质量为 $m$ 的重物,为使 $C D$ 绳保持水平,在 $D$ 点上可施加力的最小值为


$\text{A.}$ $m g$ $\text{B.}$ $\frac{\sqrt{3}}{3} m g$ $\text{C.}$ $\frac{1}{2} m g$ $\text{D.}$ $\frac{1}{4} m g$

壁虎在竖直玻璃面上斜向上匀速爬行,关于它在此平面内的受力分析,下列图示中正确的是
$\text{A.}$ $\text{B.}$ $\text{C.}$ $\text{D.}$

如图,一质量为m的滑块静止置于倾角为30°的粗糙斜面上,一根轻弹簧一端固定在竖直墙上的P点.另一端系在滑块上.弹簧与斜面垂直,则


$\text{A.}$ 滑块不可能只受到三个力作用 $\text{B.}$ 弹簧不可能处于原长状态 $\text{C.}$ 斜面对滑块的支持力大小可能为零 $\text{D.}$ 斜面对滑块的摩擦力大小一定等于 $\frac{1}{2} m g$

L型木板 $P$(上表面光滑)放在固定斜面上,轻质弹簧一端固定在木板上,另一端与置于木板上表面的滑块 $Q$ 相连,如图所示.若 $P 、 Q$ 一起沿斜面匀速下滑,不计空气阻力.则木板 $P$ 的受力个数为
$\text{A.}$ 3 $\text{B.}$ 4 $\text{C.}$ 5 $\text{D.}$ 6

如图所示,质量均为 $m$ 的两个球 $A 、 B$ 固定在杆的两端,将其放入光滑的半圆形碗中,杆的长度等于碗的半径,当杆与碗的坚直半径垂直时,两球刚好能平衡,则杆对小球的作用力为( )


$\text{A.}$ $\frac{\sqrt{3}}{3} m g$ $\text{B.}$ $\frac{2 \sqrt{3}}{3} m g$ $\text{C.}$ $\frac{\sqrt{3}}{2} m g$ $\text{D.}$ $2 m g$

如图所示,物块 $a 、 b$ 的质量分别为 $2 m 、 m$ ,水平地面和坚直墙面均光滑,在水平推力 $F$ 作用下,两物块均处于静止状态,则


$\text{A.}$ 物块 $b$ 受四个力作用 $\text{B.}$ 物块 $b$ 受到的摩擦力大小等于 $2 m g$ $\text{C.}$ 物块 $b$ 对地面的压力大小等于 $m g$ $\text{D.}$ 物块 $a$ 受到物块 $b$ 的作用力水平向右

半圆柱体 $P$ 放在粗糙的水平地面上,其右端有一固定放置的坚直挡板 $M N$ .在半圆柱体 $P$ 和 $M N$ 之间放有一个光滑均匀的小圆柱体 $Q$ ,整个装置处于静止。如图所示是这个装置的纵截面图.若用外力先使 $M N$ 保持坚直,然后缓慢地水平向右移动,在 $Q$ 落到地面以前,发现 $P$ 始终保持静止.在此过程中,下列说法中正确的是


$\text{A.}$ $M N$ 对 $Q$ 的弹力逐渐增大 $\text{B.}$ $Q$ 所受的合力逐渐增大 $\text{C.}$ $P 、 Q$ 间的弹力先减小后增大 $\text{D.}$ 地面对 $P$ 的摩擦力逐渐减小

如图所示,坚直轻杆 $A B$ 在细绳 $A C$ 和水平拉力作用下处于平衡状态.若 $A C$ 加长,使 $C$ 点左移,$A B$ 仍保持平衡状态.细绳 $A C$ 上的拉力 $F_{\mathrm{T}}$ 和杆 $A B$ 受到的压力 $F_{\mathrm{N}}$ 与原先相比,下列说法正确的是

$\text{A.}$ $F_{\mathrm{T}}$ 和 $F_{\mathrm{N}}$ 都减小 $\text{B.}$ $F_{\mathrm{T}}$ 和 $F_{\mathrm{N}}$ 都增大 $\text{C.}$ $F_{\mathrm{T}}$ 增大,$F_{\mathrm{N}}$ 减小 $\text{D.}$ $F_{\mathrm{T}}$ 减小,$F_{\mathrm{N}}$ 增大

如图甲所示,一物块放在粗糙斜面上,在平行斜面向上的外力F作用下斜面和物块始终处于静止状态,当F按图乙所示规律变化时,物块与斜面间的摩擦力大小变化规律可能是图中的
$\text{A.}$ $\text{B.}$ $\text{C.}$ $\text{D.}$

如图,两个轻环 $a$ 和 $b$ 套在位于坚直面内的一段固定圆弧上;一细线穿过两轻环,其两端各系一质量为 $m$ 的小球。在 $a$ 和 $b$ 之间的细线上悬挂一小物块。平衡时,$a 、 b$ 间的距离恰好等于圆弧的半径.不计所有摩擦.小物块的质量为()

$\text{A.}$ $\frac{m}{2}$ $\text{B.}$ $\frac{\sqrt{3}}{2} m$ $\text{C.}$ $m$ $\text{D.}$ $2 m$

多选题 (共 7 题 ),每题有多个选项正确
如图所示,一辆小车静止在水平地面上,车内固定着一个倾角为 $60^{\circ}$ 的光滑斜面 $O A$ ,光滑挡板 $O B$ 可绕转轴 $O$ 在坚直平面内转动,现将一质量为 $m$ 的圆球放在斜面与挡板之间,挡板与水平面的夹角 $\theta=60^{\circ}$ ,下列说法正确的是


$\text{A.}$ 若挡板从图示位置顺时针方向缓慢转动 $60^{\circ}$ ,则球对斜面的压力逐渐增大 $\text{B.}$ 若挡板从图示位置顺时针方向缓慢转动 $60^{\circ}$ ,则球对挡板的压力逐渐减小 $\text{C.}$ 若保持挡板不动,则球对斜面的压力大小为 $m g$ $\text{D.}$ 若保持挡板不动,使小车水平向右做匀加速直线运动,则球对挡板的压力可能为零

如图所示,用 $O A 、 O B$ 两根轻绳将物体悬于两坚直墙之间,开始时 $O B$ 绳水平.现保持 $O$ 点位置不变,改变 $O B$ 绳长使绳末端由 $B$ 点缓慢上移至 $B^{\prime}$ 点,此时 $O B^{\prime}$ 与 $O A$ 之间的夹角 $\theta < 90^{\circ}$ .设此过程中 $O A 、 O B$ 的拉力分别为 $F_{O A} 、 F_{O B}$ ,下列说法正确的是
$\text{A.}$ $F_{O A}$ 逐渐增大 $\text{B.}$ $F_{O A}$ 逐渐减小 $\text{C.}$ $F_{O B}$ 逐渐增大 $\text{D.}$ $F_{O B}$ 逐渐减小

如图所示,轻绳的两端分别系在圆环 $A$ 和小球 $B$ 上,圆环 $A$ 套在粗糙的水平直杆 $M N$ 上.现用水平力 $F$ 拉着绳子上的一点 $O$ ,使小球 $B$ 从图中实线位置缓慢上升到虚线位置,但圆环 $A$ 始终保持在原位置不动.在这一过程中,环对杆的摩擦力 $F_{\mathrm{f}}$ 和环对杆的压力 $F_{\mathrm{N}}$ 的变化情况是


$\text{A.}$ $F_{\mathrm{f}}$ 不变 $\text{B.}$ $F_{\mathrm{f}}$ 增大 $\text{C.}$ $F_{\mathrm{N}}$ 减小 $\text{D.}$ $F_{\mathrm{N}}$ 不变

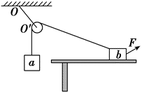
如图,一光滑的轻滑轮用细绳 $O O^{\prime}$ 悬挂于 $O$ 点;另一细绳跨过滑轮,其一端悬挂物块 $a$ ,另一端系一位于水平粗糙桌面上的物块 $b$ 。外力 $F$ 向右上方拉 $b$ ,整个系统处于静止状态。若 $F$ 方向不变,大小在一定范围内变化,物块 $b$ 仍始终保持静止,则()

$\text{A.}$ 绳 $O O^{\prime}$ 的张力也在一定范围内变化 $\text{B.}$ 物块 $b$ 所受到的支持力也在一定范围内变化 $\text{C.}$ 连接 $a$ 和 $b$ 的绳的张力也在一定范围内变化 $\text{D.}$ 物块 $b$ 与桌面间的摩擦力也在一定范围内变化

如图所示,质量分别为 $m_1, m_2$ 的两个物体通过轻弹簧连接,在力 $F$ 的作用下一起沿水平方向做匀速直线运动( $m_1$ 在地面,$m_2$ 在空中),力 $F$ 与水平方向成 $\theta$ 角.则 $m_1$ 所受支持力 $F_{\mathrm{N}}$ 和摩擦力 $F_{\mathrm{f}}$ 正确的是( )

$\text{A.}$ $F_{\mathrm{N}}=m_1 g+m_2 g-F \sin \theta$ $\text{B.}$ $F_{\mathrm{N}}=m_1 g+m_2 g-F \cos \theta$ $\text{C.}$ $F_{\mathrm{f}}=F \cos \theta$ $\text{D.}$ $F_{\mathrm{f}}=F \sin \theta$

如图所示,物体 $m$ 通过定滑轮牵引另一水平面上的物体并沿斜面匀速下滑,此过程中斜面仍静止,斜面质量为 $M$ ,则水平地面对斜面体()

$\text{A.}$ 无摩擦力 $\text{B.}$ 有水平向右的摩擦力 $\text{C.}$ 支持力为 $(M+m) g$ $\text{D.}$ 支持力小于 $(M+m) g$

如图所示,物块 $A$ 和滑环 $B$ 用绕过光滑定滑轮的不可伸长的轻绳连接,滑环 $B$ 套在与坚直方向成 $\theta=37^{\circ}$ 的粗细均匀的固定杆上,连接滑环 $B$ 的绳与杆垂直并在同一坚直平面内,滑环 $B$ 恰好不能下滑,滑环和杆间的动摩擦因数 $\mu=0.4$ ,设滑环和杆间的最大静摩擦力等于滑动摩擦力,则物块 $A$ 和滑环 $B$ 的质量之比为( )

$\text{A.}$ $\frac{7}{5}$ $\text{B.}$ $\frac{5}{7}$ $\text{C.}$ $\frac{13}{5}$ $\text{D.}$ $\frac{5}{13}$

解答题 (共 2 题 ),解答过程应写出必要的文字说明、证明过程或演算步骤
如图所示,质量为 $m$ 的物体放在一固定斜面上,当斜面倾角为 $30^{\circ}$ 时恰能沿斜面匀速下滑.对物体施加一大小为 $F$ 水平向右的恒力,物体可沿斜面匀速向上滑行.设最大静摩擦力等于滑动摩擦力,当斜面倾角增大并超过某一临界角 $\theta_0$ 时,不论水平恒力 $F$ 多大,都不能使物体沿斜面向上滑行,试求:
(1)物体与斜面间的动摩擦因数;
(2)这一临界角 $\theta_0$ 的大小.

拖把是由拖杆和拖把头构成的擦地工具(如图所示)。设拖把头的质量为 $m$ ,拖杆质量可以忽略;拖把头与地板之间的动摩擦因数为常数 $\mu$ ,重力加速度为 $g$ .某同学用该拖把在水平地板上拖地时,沿拖杆方向推拖把,拖杆与坚直方向的夹角为 $\theta$ .

(1)若拖把头在地板上匀速移动,求推拖把的力的大小;
(2)设能使该拖把在地板上从静止刚好开始运动的水平推力与此时地板对拖把的正压力的比值为 $\lambda$ .已知存在一临界角 $\theta_0$ ,若 $\theta \leqslant \theta_0$ ,则不管沿拖杆方向的推力多大,都不可能使拖把从静止开始运动.求这一临界角的正切值 $\tan \theta_0$ .

非会员每天可以查看15道试题。 开通会员,海量试题无限制查看。

  • 无限看试题

  • 下载试题

  • 组卷
开通会员

热点推荐

试卷二维码

分享此二维码到群,让更多朋友参与

试卷白板

试卷白板提供了一个简单的触摸书写板,可供老师上课、或者视频直播时, 直接利用白板给学生讲解试题,如有意见,欢迎反馈。