• 试题 ID 38192


【所属试卷】 功与功率单元测试

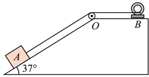
如图所示,质量 $m=2 \mathrm{~kg}$ 的物体(可看质点)静置在倾角为 $37^{\circ}$ 粗糙斜面上的 $A$ 点,现利用固定在 $B$ 点的电动机通过跨过斜面顶端光滑小定滑轮的轻绳将该物体从 $A$ 点拉升到斜面顶端 $O$ 点,轻绳均与所在的斜面和平面平行。物体与斜面间的动摩擦因数 $\mu=0.25$ ,轻绳可承受最大的力 $F=20 \mathrm{~N}$ ,电动机的额定功率 $P=320 \mathrm{~W}, A O$ 的距离 $s=175 \mathrm{~m}$ 。若要用最短的时间将物体拉到斜面顶端 $O$ 点,且物体到达 $O$ 点前已经达到最大速度。则(已知 $\sin 37^{\circ}=0.6$ ,重力加速度取 $g=10 \mathrm{~m} / \mathrm{s}^2$ )
A 物体运动过程中的最大速度 $v=16 \mathrm{~m} / \mathrm{s}$
B 物体上升过程中最大的加速度 $a_m=2 \mathrm{~m} / \mathrm{s}^2$
C 在将物体从 $A$ 拉到 $O$ 点的过程中,电动机共做功 3200J
D 物体从 $A$ 运动到 $O$ 共用时 14 s
E
F
答案:

答案与解析仅限VIP可见

解析:

答案与解析仅限VIP可见